Informuojama, kad yra parengti automobilių plovyklos Rukloje statybos projektiniai pasiūlymai ir visuomenė kviečiama dalyvauti juos svarstant.
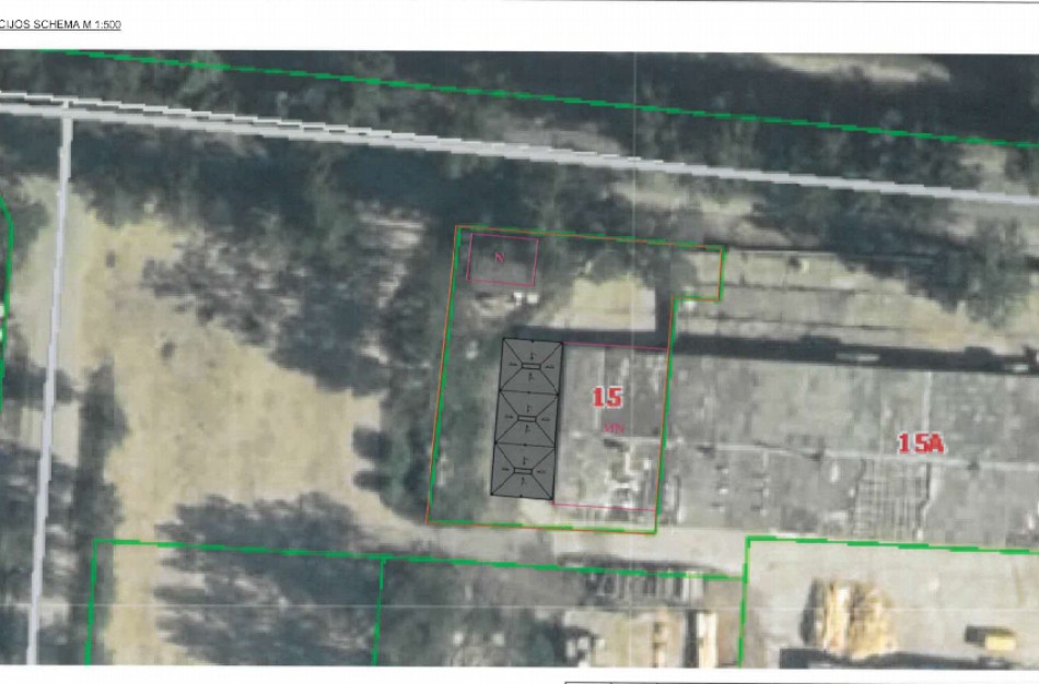
Naują automobilių plovyklą ketinama statyti Jonavos r. sav., Rukloje, Karaliaus Mindaugo g. 15. Numatoma, kad minėtoje teritorijoje bus įrengta 3 lengvųjų automobilių plovykla. Statybų metu sklype nenumatomas augmenijos ir jos ploto keitimas. Plovyklą planuojama įrengti urbanizuotoje teritorijoje, priblokuojant ją prie sklype esančio sandėlio sienos. Projektiniuose pasiūlymuose rašoma, kad nuotekos iš plovyklos bus valomos ir šalinamos į gyvenvietes nuotekų tinklus.
„Atliekant statybos darbus, užtikrinamas trečiųjų asmenų interesų nepažeidimas. Nepabloginamos insoliacijos ir akustinio komforto sąlygos aplinkiniams pastatams. Paliekami esami priėjimai prie pastatų, vedant inžinerinių įrenginių trasas, numatomos betranšėjės technologijos arba suardytų dangų visiškas atstatymas iki esamos būklės. Pagal reikalavimus slopinamas projektuojamų inžinerinių įrenginių, esančių projektuojamo pastato išorėje, triukšmas. Statybos metu kaimyniniuose sklypuose esančių pastatų naudotojai nepatogumų nepatirs. Priėjimai ir privažiavimai nebus apriboti. Kaimyninių sklypų įvadiniai inžineriniai tinklai nebus paliesti. Statybinės atliekos kraunamos tam skirtoje žemės vietoje ir išvežamos į sąvartynus“, - rašoma projektiniuose pasiūlymuose.
Auto plovyklą UAB "Elenergus" ketina statyti savo lėšomis. Sklypo nuosavybės teisė priklauso N.I. ir Z.I. (dėl projektavimo ir statybos darbų yra gautas bendrasavininkės sutikimas).
Kontaktinis asmuo, galintis informuoti apie projektinius pasiūlymus - Nerijus Meslinas, el.p.: nermes@gmail.com tel.: +370 682 38234.
Iki viešo susirinkimo visuomenės atstovai projektuotojui gali teikti pasiūlymus dėl projektinių pasiūlymų Iki 2020-06-01 darbo dienomis 8:00-17:00 val. tel. +370 682 38234, paštu UAB „Projektera“, adresu Žeimių g. 11, LT-55158, Jonava; el.paštu: nermes@gmail.com bei viešojo susirinkimo metu.
Viešasis susirinkimas įvyks 2020-06-01 17:00 val. adresu Žeimių g. 13, Jonava. Karantino atveju viešas susirinkimas bus vykdomas tiesioginės vaizdo transliacijos būdu.
Susipažinti su projektiniais pasiūlymais galima savivaldybės internetiniame puslapyje ( www.jonava.lt ).
















.jpg)

